据证券时报,今日,在永乐2025春季拍卖会上,一款显示为初代藏品级薄荷色的LABUBU最终以108万元的价格完成竞拍。据了解,此次拍卖出现在全球首场初代藏品级LABUBU艺术专场。该款LABUBU尺寸为高131cm,材质为PVC配资网站导航指南,颜色为薄荷色,在备注栏标注了“全球唯一一只”。除此之外,一款全球限量15版棕色LABUBU以82万元成交。
举报 相关阅读中远海运声明:坚决反对美方对中国海事物流及造船业301调查的歧视性决定
0 04-21 10:3810家上市公司股票获回购,和元生物回购金额最高
16 03-25 23:50主力今日尾盘买卖这些个股
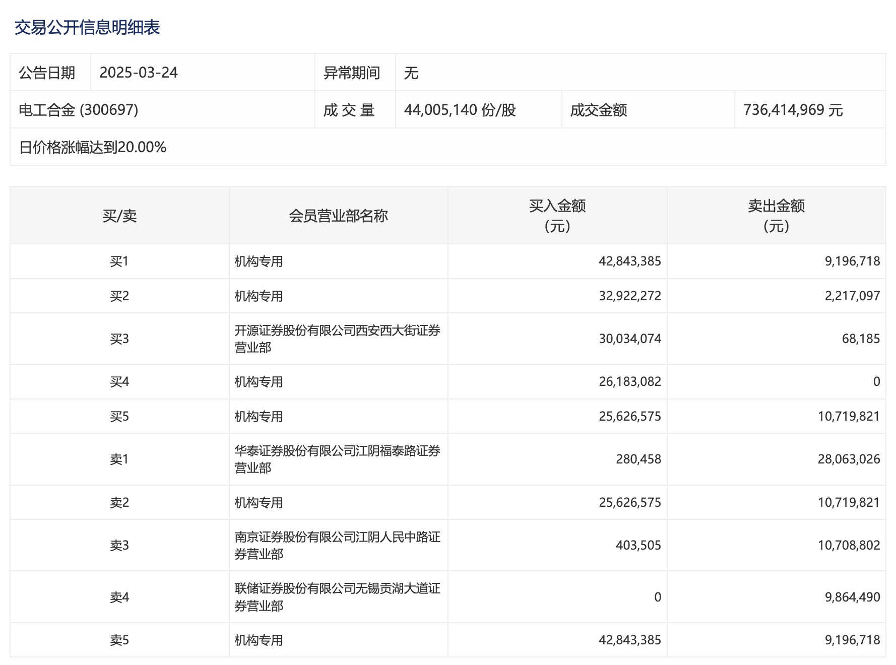
0 03-25 18:56电工合金20%涨停,四机构净买入1.05亿元
0 03-24 16:563家上市公司股票获回购,万年青回购金额最高
0 03-20 23:32 一财最热 点击关闭广升网配资提示:文章来自网络,不代表本站观点。